Výrobce: ORAMONT SYSTEM s.r.o. Made in Czech Republic
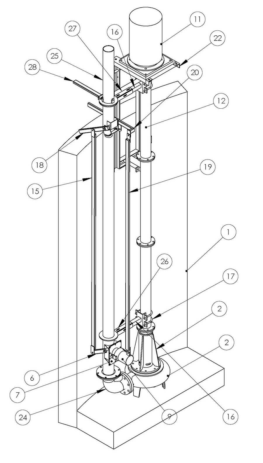
Nerezová vertikální segmentová čerpadla ORAMONT® PVO | PVOR | PVORM jsou vyrobena z nerezové oceli a litiny, což zaručuje maximální možnou odolnost proti působení čpavku a dalších agresivních látek vznikajících v kejdě a odpadních vodách. Jsou vybavena mechanickou ucpávkou mazanou stálou olejovou náplní. Jako ochrana mechanické ucpávky proti zanešení přítlačné pružiny a nečistotám slouží labyrint. Zesílená spirální skříň zaručuje dlouhou životnost. Oběžné kolo a řezací příruba jsou vyrobeny z tvrdé otěruvzdorné litiny. Čerpadla jsou osazena nejnovějšími elektromotory Siemens v suchém provedení a jsou vybavena tepelnou ochranou proti přehřátí a přetížení. Vertikální segmentová čerpadla se vyrábí v délce 3m | 4m | 5m | 6m a jsou upravena dle individuálních podmínek pro instalaci. Čerpadla jsou vyrobena ve sloupovém provedení, kde elektromotor je v nadhladinové části jímky.
Vertikální nerezová čerpadla pro husté kaly a kejdu ORAMONT® řady PVORM jsou kromě řezací příruby (schopnost rozmělnění slámy a podobných součástí obsažených v čerpaném médiu) vybavena i třícestným ventilem, umožňující čerpání nebo výtlak média zpět do jímky přes nerezovou trysku, která zajišťuje částečné rozmíchání čerpaného média o menším objemu. Nerezovou míchací trysku je možné horizontálně a vertikálně natáčet a pomocí aretace ji zajistit v požadované poloze.
Typ:
Použití: čerpání hustých kapalin a kalů. Vhodná jsou k čerpání kejdy (vepřové / hovězí), digestátu z bioplynových stanic a podobných kapalin s obsahem sušiny do 12%. Vertikální nerezová čerpadla jsou vhodná zejména do přípravných a přečerpávacích jímek pod úrovní terénu. Řezací ústrojí je schopné rozmělnit slámu a podobné součásti obsažené v čerpaném médiu. Verze s míchací tryskou je také vhodná k homogenizaci - rozmíchání malých jímek. Míchací tryska je vyrobena z nerezu.
Úhel natáčení míchací trysky ve vertikálním směru - max. 15° na každou stranu
Úhel natáčení míchací trysky v horizontálním směru - max. 20° na každou stranu
Výkony čerpadel:
Typ čerpadla Výkon motoru Qmax. Qn Výtlak: Hmax. Hn
ORAMONT® PVO7,5 7,5kW 176,4m3/hod. 140,4m3/hod. 15m 10m
ORAMONT® PVO11 11kW 194,4m3/hod. 158,4m3/hod. 18m 11m
ORAMONT® PVO15 15kW 225 m3/hod. 172,8m3/hod. 22m 14m
ORAMONT® PVO18,5 18.5kW 235,8m3/hod. 183,6m3/hod. 25m 16m
K ovládání čerpadel a míchadel slouží originální ovládací skříně. Ty jsou standardně vybaveny tepelnou ochranou, proudovou ochranou, čítačem provozních hodin, signalizací přehřátí motoru a režimem ovládání ručně / automat. S použitím ultrazvukového snímače hladiny lze ovládání čerpadel a míchadel plně automatizovat.
Ovládací skříň čerpadla se dodává v provedení:
PV - výskladňovací (ovládáno ručně / dvoutlačítkem)
PVSH - s houkačkou (ovládáno ručně / dvoutlačítkem)
+ zvuková signalizace havarijní hladiny).
Toto provedení musí být doplněno o plovákový spínač.
PU - pro ultrazvukový snímač hladiny (ovládáno ultrazvukem / ručně)
PUM - s předmícháním (ovládáno ultrazvukem s automatickým spuštěním míchadla před čerpáním / ručně)
Na přání lze ovládací skříně doplnit:
- plynulým rozběhem elektromotoru - SoftStart - typ SS
- houkačkou (signalizací havarijní hladiny jímky) - typ SH
- spouštěním pomocí ultrazvukového snímače - typ PU
- spouštění pomocí dálkového ovládání - typ DO
- dvojtlačítkem: spouštění z jiného místa - typ DT
- Hlásičem GSM (hlášení havarijní hladiny jímky / poruchy čerpadla zasláním sms na mobilní telefony)
Výrobce: ORAMONT SYSTEM s.r.o. Made in Czech Republic